薬効分類名子宮内黄体ホルモン放出システム

一般的名称レボノルゲストレル放出子宮内システム

ミレーナ52mg

みれーな52mg

Mirena intrauterine delivery system

製造販売元/バイエル薬品株式会社

第2版
禁忌合併症・既往歴等のある患者肝機能障害患者生殖能を有する者妊婦授乳婦

重大な副作用

頻度
副作用
頻度不明
頻度不明
頻度不明

その他の副作用

部位
頻度
副作用
脳・神経
5%未満
脳・神経
頻度不明
気分の変化性欲減退片頭痛神経過敏
胃腸・消化器系
5%未満
皮膚
5%未満
皮膚
頻度不明
免疫系
5%未満
免疫系
頻度不明
肝臓まわり
5%未満
女性疾患
5%未満
女性疾患
頻度不明
生殖系
5%以上
生殖系
5%未満
生殖系
頻度不明
その他
5%以上
その他
5%未満
その他
頻度不明

詳細情報

正確な情報は PMDA で必ず確認して下さい

注意以下の情報は参考資料としてご活用下さい

本剤は、HIV感染(エイズ)及び他の性感染症(例えば梅毒、性器ヘルペス、淋病、クラミジア感染症、尖圭コンジローマ、腟トリコモナス症、B型肝炎等)を防止するものではないこと、これらの感染防止には、コンドームの使用が有効であることを使用者に十分説明すること。

2. 禁忌(次の患者には投与しないこと)

  1. 2.1 本剤の成分に対し過敏症の既往歴のある女性
  2. 2.2 性器癌及びその疑いのある患者[癌の悪化のおそれがある。][8.4 参照]
  3. 2.3 黄体ホルモン依存性腫瘍及びその疑いのある患者[ホルモン依存性腫瘍の悪化のおそれがある。][8.4 参照]
  4. 2.4 診断の確定していない異常性器出血のある患者[性器癌の疑いがある。出血が性器癌による場合は、悪化のおそれがある。][8.3 参照],[8.4 参照]
  5. 2.5 先天性、後天性の子宮の形態異常(子宮腔の変形を来しているような子宮筋腫を含む)又は著しい位置異常のある女性[本剤を正確な位置に装着することが困難である。][8.4 参照]
  6. 2.6 性器感染症(カンジダ症を除く)のある患者[骨盤内炎症性疾患(PID)のリスクが上昇するおそれがある。][8.4 参照],[11.1.1 参照]
  7. 2.7 過去3ヵ月以内に性感染症(細菌性腟炎、カンジダ症、再発性ヘルペスウイルス感染、B型肝炎、サイトメガロウイルス感染を除く)の既往歴のある女性[PIDのリスクが上昇するおそれがある。][8.4 参照],[11.1.1 参照]
  8. 2.8 頸管炎又は腟炎の患者[PIDを起こすおそれがある。][8.4 参照],[11.1.1 参照]
  9. 2.9 再発性又は現在PIDの患者[症状が悪化することがある。][8.4 参照],[11.1.1 参照]
  10. 2.10 過去3ヵ月以内に分娩後子宮内膜炎又は感染性流産の既往歴のある女性[子宮内膜炎を起こすおそれがある。][8.4 参照]
  11. 2.11 異所性妊娠の既往歴のある女性[異所性妊娠が起こるおそれがある。][11.1.2 参照]
  12. 2.12 本剤又は子宮内避妊用具(IUD)装着時又は頸管拡張時に失神、徐脈等の迷走神経反射を起こしたことのある女性[本剤の装着及び除去に際して迷走神経反射を起こすおそれがある。]
  13. 2.13 重篤な肝障害の患者[9.3.1 参照]
  14. 2.14 肝腫瘍の患者[肝臓への負担が増加し、症状が増悪するおそれがある。]
  15. 2.15 妊婦又は妊娠している可能性のある女性[8.4 参照],[9.4 参照],[9.5.1 参照]

3. 組成・性状

3.1 組成

ミレーナ52mg

有効成分 1システム中レボノルゲストレル   52mg含有
添加剤 ポリジメチルシロキサン硬化エラストマーM、ポリジメチルシロキサン硬化チューブM

3.2 製剤の性状

ミレーナ52mg

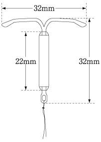
外形 大きさ                                        
色・性状 T型フレームの垂直軸に白色円筒状の内容薬剤を取り付け、この内容薬剤の部分を半透明の剤皮で覆ったものである。このT型フレームは白色で、垂直軸の上端が2本の弓状のアームとなっており、垂直軸の下端はループになっている。このループには除去糸が取り付けられている。

4. 効能又は効果

  • 避妊
  • 過多月経
  • 月経困難症

5. 効能又は効果に関連する注意

  • 〈過多月経〉

    器質性過多月経の患者では、原疾患の治療を優先すること。

6. 用法及び用量

本剤1個を子宮腔内に装着する。

7. 用法及び用量に関連する注意

本剤は装着後5年を超えないうちに除去又は交換すること。

8. 重要な基本的注意

  • 〈効能共通〉
    1. 8.1 本剤の取扱いは、産婦人科医(母体保護法指定医又は日本産科婦人科学会認定医)が行うこと。
    2. 8.2 本剤の装着前に、副作用の可能性についてよく説明すること。また、他の避妊法と同様に、本剤による避妊効果は必ずしも100%ではないことを説明すること。また、妊娠や異所性妊娠が疑われる場合の対応についても説明しておくこと。[9.5.2 参照],[17.1.1 参照],[17.1.2 参照]
    3. 8.3 本剤の装着後、出血パターンが不規則になる。装着後数ヵ月間は月経中間期出血が発現することが多いが、通常は装着継続中に消失する。長期間持続する場合は、子宮内膜の疾患によるものでないことを確認するために適切な検査を考慮すること。[2.4 参照]
    4. 8.4 装着前に骨盤内諸臓器、乳房の検査、腟内容の検査を含む診察を行うこと。妊娠していないこと、性感染症に罹患していないことを確認すること。[2.2 参照],[2.3 参照],[2.4 参照],[2.5 参照],[2.6 参照],[2.7 参照],[2.8 参照],[2.9 参照],[2.10 参照],[2.15 参照],[9.5.1 参照]
    5. 8.5 本剤は、滅菌処理したディスポーザブル製品であるので、いったん装着した後、除去又は脱出した場合は再度使用しないこと。
    6. 8.6 装着後3ヵ月以内、1年後(又は必要に応じそれ以前)に受診させ、1年以上装着する場合は、以後少なくとも1年に1度は受診するよう指導し、本剤の位置の確認及び必要に応じた諸検査を実施すること。
    7. 8.7 次のような場合には受診するよう指導すること。
      • 多量の性器出血があったとき、又は装着後数ヵ月以降に月経中間期出血が継続してみられたとき、あるいは出血量の増加など出血のパターンが変化したとき
      • 前回の月経から6週間以内に月経が起こらない場合や、悪心、嘔吐、食欲不振等の妊娠を疑う兆候がみられたとき[9.5.2 参照]
      • 月経遅延時の下腹部痛又は無月経の女性で出血が始まるなど異所性妊娠を疑う兆候がみられたとき[11.1.2 参照]
      • 性交痛又は性交後出血があったとき
      • 異常な帯下、外陰部そう痒等があったとき
      • 発熱を伴う下腹部痛があったとき
      • 持続性又は急性の腹部膨満感や下腹部痛(圧痛)があったとき
      • 性交時にパートナーが除去糸に触れ、陰茎痛を訴えたとき
      • その他、異常を自覚した場合
    8. 8.8 子宮穿孔の可能性が考えられたときには、本剤を除去すること。[11.1.3 参照]
    9. 8.9 本剤の効果は主に子宮内膜への局所作用に基づくものであり、通常排卵周期があるが、卵胞閉鎖が遅れ、卵胞形成が継続することがある。超音波検査時に卵巣のう胞が観察された場合は、経過観察を行うこと。ほとんどは無症状であるが、骨盤痛又は性交痛を伴う場合もある。また、通常2~3ヵ月の観察期間中に消失するが、まれに、大きくなりすぎた卵巣のう胞の切除や卵巣のう胞破裂に伴う出血の処置等を必要とする場合がある。
      使用者に経過観察のため来院の必要性を説明し、持続性又は急性の腹部膨満感や下腹部痛(圧痛)が起こった場合は、速やかに受診するよう指導すること。[11.1.4 参照]
    10. 8.10 装着・除去に関しては次のような点に注意すること。
      1. 8.10.1 装着の時期
        1. (1) 妊娠初期における装着を防止するため月経開始後7日以内に装着すること。妊娠初期の流産又は妊娠初期の人工妊娠中絶の場合は直後に装着してもよい。本剤使用者が新しいものを装着しなおす場合は、月経周期のいつでも装着が可能である。
        2. (2) 分娩後の装着は穿孔や脱出の可能性が高くなるので、子宮の回復(6週間以上)を待つこと。また、授乳中の女性の子宮は穿孔のリスクが高くなるので注意すること。[9.6.1 参照],[9.6.2 参照],[11.1.3 参照]
        3. (3) 骨盤内手術(帝王切開術、子宮筋腫核出術等)後の女性では、術部の回復を確認してから装着すること。
      2. 8.10.2 装着時の注意
        1. (1) 本剤はエチレンオキサイドガス滅菌済みである。無菌的に包装を開封して装着すること。本剤のヒートシール包装が開封前に破損していないことを確認すること。
        2. (2) 装着前に子宮頸管及び子宮腔の屈曲方向と長さを測定すること。子宮腔長が比較的短い女性では挿入が困難な場合がある。
        3. (3) 脱出を防ぎ、効果を確実に発揮させるために、本剤を正しい位置に装着すること。
        4. (4) 本剤装着時に痛みと出血を伴うことがある。迷走神経反射として、失神、徐脈、またてんかんの患者は発作を起こす可能性があるので注意すること。
      3. 8.10.3 装着後の管理
        1. (1) 自然脱出

          自然脱出の可能性があることを説明し、脱出に気付いたら速やかに受診するよう指導すること。子宮腔長が比較的短い女性では脱出のリスクが高くなる。部分脱出の場合でも、効果が低下するおそれがある。部分脱出あるいは完全脱出の兆候として出血及び疼痛があらわれることがあるが、使用者が気付かないうちに脱出することもありうる。正しい位置にない場合は、除去して、新たな本剤を装着すること。なお、使用者自身が除去糸を確認することで脱出の有無を確かめることができる。

        2. (2) 位置の確認

          定期検診時に本剤の位置を確認すること。また、除去糸が見つからない場合は穿孔若しくは脱出の可能性も考えられるので、本剤の位置を確認すること。本剤の位置は超音波検査によって確認できるが、妊娠していないことが確認されれば単純レントゲン撮影も可能である。

        3. (3) 装着後数日間は、出血、下腹部痛、腰痛、帯下等の症状があらわれることがある。これらの症状が継続する場合やひどい場合は受診するよう指導すること。
      4. 8.10.4 除去に関する注意
        1. (1) 除去の時期

          月経期間以外に除去し、その後新たな本剤又はIUDを装着しない場合、除去前1週間以内に性交渉があれば妊娠する可能性がある。除去後妊娠を望まない場合は月経期間中に除去すること。

        2. (2) 除去時の注意
          • 本剤除去時に痛みと出血を伴うことがある。迷走神経反射として、失神、徐脈、またてんかんの患者は発作を起こす可能性があるので注意すること。なお、除去後約1週間以内に消退出血が起こることがある。
          • **本剤が破損する可能性があるので、除去時に本剤を強く引っ張らないこと。円筒部がずれて水平アーム部を包み込んだ例や円筒部が子宮内に残された例が報告されているので、除去後に本剤の外形の異常又は欠損がないかを確認すること。
  • 〈月経困難症〉
    1. 8.11 器質的疾患を伴う月経困難症患者に対する本剤の使用にあたっては、器質的疾患の増悪の有無を確認するため、不正性器出血の発現に注意し、定期的に内診及び超音波検査等による診察を行うこと。本剤装着中に腫瘤が増大するなど器質的疾患の増悪が認められる場合や、臨床症状の改善がみられない場合は、他の治療法も勘案したうえで装着継続の判断を行うこと。特に、子宮内膜症性卵巣のう胞(卵巣チョコレートのう胞)は、頻度は低いものの自然経過において悪性化を示唆する報告があるので、画像診断や腫瘍マーカー等の検査も行うこと。

9. 特定の背景を有する患者に関する注意

9.1 合併症・既往歴等のある患者

  • 〈効能共通〉
    1. 9.1.1 先天性心疾患又は心臓弁膜症の患者

      本剤を装着又は除去するときは抗生物質を予防的に投与することが望ましい。感染性心内膜炎の危険性がある。

    2. 9.1.2 糖尿病患者

      十分コントロールを行うこと。耐糖能が低下することがある。

  • 〈避妊〉
    1. 9.1.3 未経産婦

      第一選択の避妊法としないこと。IUDにおいて経産婦の装着と比較して脱出、妊娠、出血・疼痛、感染症、迷走神経反射の頻度が高いとの報告がある。

9.3 肝機能障害患者

  1. 9.3.1 重篤な肝障害の患者

    装着しないこと。肝臓への負担が増加し、症状が増悪するおそれがある。[2.13 参照]

  2. 9.3.2 肝障害のある患者(重篤な肝障害の患者を除く)

    肝臓への負担が増加し、症状が増悪するおそれがある。

9.4 生殖能を有する者

徐々に稀発月経が発現し、約20%の女性に無月経がみられる。前回の月経から6週間以内に月経が起こらない場合は妊娠の可能性も考慮すること。[2.15 参照],[9.5.1 参照],[9.5.2 参照]

9.5 妊婦

  1. 9.5.1 妊婦又は妊娠している可能性のある女性には、本剤を装着しないこと。[2.15 参照],[8.4 参照],[9.4 参照]
  2. 9.5.2 本剤の使用中に妊娠した場合には以下のように適切な処置を行うこと。[8.2 参照],[8.7 参照],[9.4 参照]
    1. (1) 異所性妊娠の場合

                        [11.1.2 参照]                 

    2. (2) 子宮内妊娠の場合
      • 原則として、本剤を除去すること。使用者には本剤の除去や子宮ゾンデ診は自然流産に至ることがあることを説明すること。
      • 黄体ホルモンの局所的曝露による胎児への影響を完全に否定することはできないため、使用者に胎児への影響の危険性について十分に説明した上、妊娠の中断も考慮すること。本剤装着中の妊娠の報告は少ないため、妊娠の転帰に関する報告は限られているが、本剤との関連性を否定できない出生児の外性器異常の報告がある。また、黄体ホルモン剤の使用と先天異常児出産との因果関係について、いまだ確立されたものではないものの、心臓・四肢等の先天異常児を出産した母親では、対照群に比して妊娠初期に黄体又は黄体・卵胞ホルモン剤を使用していた率に有意差があるとする疫学調査の結果が報告されている。
      • 妊娠の継続を希望し、本剤が除去できない場合は、妊娠の経過をよく観察し、十分管理すること。また、使用者には、装着したまま妊娠を継続した場合には、流産(敗血性流産を含む)や早産の危険性が高くなること、黄体ホルモンの胎児への曝露、早産により起こり得る胎児への影響を説明し、インフルエンザ様の症状、発熱を伴う腹部仙痛、出血などの妊娠の合併症を示唆する異常がみられた場合は直ちに受診するよう指導すること。

9.6 授乳婦

  1. 9.6.1 治療上の有益性及び母乳栄養の有益性を考慮し、授乳の継続又は中止を検討すること。[8.10.1 参照]
  2. 9.6.2 授乳中の女性には第一選択としないこと。母乳中への移行が報告されている。[8.10.1 参照]

11. 副作用

次の副作用があらわれることがあるので、観察を十分に行い、異常が認められた場合には除去するなど適切な処置を行うこと。

11.1 重大な副作用

  1. 11.1.1 骨盤内炎症性疾患(PID)(0.2%未満)

    発熱、下腹部痛、腟分泌物の異常等の症状を伴うPIDがあらわれることがある。海外において、骨盤内感染症が重症化して敗血症(A群β溶血性レンサ球菌性敗血症等)に至った症例が報告されている。PIDは装着時の汚染が原因の場合には、一般的に装着後20日以内に発現することが多い。性感染症のある女性ではPIDのリスクが高い。副腎皮質ホルモンの長期投与療法を受けている場合は、感染症に対する特別な注意が必要である。骨盤内の炎症が起こると妊孕性が低下し、異所性妊娠の危険性が高くなる。PIDが認められた場合は、抗生物質の投与等適切な処置を行うこと。再発性の子宮内膜炎又は骨盤内感染が起こった場合、あるいは、急性の感染症に対する治療効果が開始後数日間内に認められない場合は、本剤を除去すること。異常な帯下等、感染が疑われる他の症状がある場合でも、細菌学的検査を行い、経過を観察すること。[2.6 参照],[2.7 参照],[2.8 参照],[2.9 参照]

  2. 11.1.2 異所性妊娠(頻度不明)

    本剤装着中に妊娠した場合、その約半数が異所性妊娠である。異所性妊娠、骨盤内の手術、又は骨盤内感染症の既往歴のある女性が妊娠した場合、異所性妊娠の可能性が高い。月経遅延時の下腹部痛又は無月経の女性で出血が始まった場合は、異所性妊娠の可能性を考慮すること。異所性妊娠の場合は、速やかに本剤を除去し、必要な処置を行うこと。[2.11 参照],[8.7 参照],[9.5.2 参照]

  3. 11.1.3 穿孔(頻度不明)

    子宮穿孔又は子宮体部や頸部への部分的貫入が起こることがあるが、これは装着時に起こることが多く、効果が低下するおそれがある。挿入が困難であったり、装着時又は装着後に異常な痛みや出血があった場合は、速やかに穿孔の可能性を考慮すること。穿孔又は部分的貫入した場合は、本剤は除去すること。[8.8 参照],[8.10.1 参照]

  4. 11.1.4 卵巣のう胞破裂(頻度不明)

    卵巣のう胞が認められた場合は、経過観察を十分に行い、持続性又は急性の腹部膨満感や下腹部痛(圧痛)等の異常が認められた場合には、速やかに適切な処置を行うこと。[8.9 参照]

11.2 その他の副作用

5%以上

5%未満

頻度不明

代謝・栄養障害

浮腫、末梢性浮腫、高トリグリセライド血症、フェリチン上昇、体重増加

精神神経系

頭痛、抑うつ

気分の変化、性欲減退、片頭痛、神経過敏

消化器

悪心、鼓腸放屁

皮膚

ざ瘡、湿疹

多毛、脱毛、そう痒

過敏症

じん麻疹

発疹、血管浮腫

肝臓

γ-GTP上昇、肝機能異常

乳房

乳房痛

乳房緊満

生殖器

月経異常(過長月経、月経周期異常等)(78.6%)、月経中間期出血、除去後の消退出血、卵巣のう胞

無月経、月経困難症、過多月経、卵巣疾患、腟炎、外陰炎、陰部そう痒、白帯下、生殖器モニリア症、本剤の脱出、装着・除去時の疼痛・出血

生殖器感染症、子宮頸管炎、骨盤痛

その他

腹痛

背部痛、倦怠感、白血球増多

血圧上昇

15. その他の注意

15.1 臨床使用に基づく情報

  1. 15.1.1 経口、注射の黄体ホルモン避妊剤において、有意ではないが僅かな心血管系のリスク上昇を示唆する報告があるので、下肢の疼痛・浮腫、突然の息切れ、胸痛、激しい頭痛、急性視力障害、著しい血圧上昇等の症状・状態があらわれた場合は除去を考慮し、適切な処置を行うこと。
  2. 15.1.2 子宮内避妊用具(IUD)使用者(レボノルゲストレル放出子宮内システム及び銅付加IUD使用者)を対象とした、海外での大規模市販後調査において、授乳をしていない女性のうち、分娩後36週目までにIUDを装着した女性は、分娩後36週目を超えてIUDを装着した女性に比べ子宮穿孔のリスクが高かったとの報告がある。

本剤は、HIV感染(エイズ)及び他の性感染症(例えば梅毒、性器ヘルペス、淋病、クラミジア感染症、尖圭コンジローマ、腟トリコモナス症、B型肝炎等)を防止するものではないこと、これらの感染防止には、コンドームの使用が有効であることを使用者に十分説明すること。

2. 禁忌(次の患者には投与しないこと)

  1. 2.1 本剤の成分に対し過敏症の既往歴のある女性
  2. 2.2 性器癌及びその疑いのある患者[癌の悪化のおそれがある。][8.4 参照]
  3. 2.3 黄体ホルモン依存性腫瘍及びその疑いのある患者[ホルモン依存性腫瘍の悪化のおそれがある。][8.4 参照]
  4. 2.4 診断の確定していない異常性器出血のある患者[性器癌の疑いがある。出血が性器癌による場合は、悪化のおそれがある。][8.3 参照],[8.4 参照]
  5. 2.5 先天性、後天性の子宮の形態異常(子宮腔の変形を来しているような子宮筋腫を含む)又は著しい位置異常のある女性[本剤を正確な位置に装着することが困難である。][8.4 参照]
  6. 2.6 性器感染症(カンジダ症を除く)のある患者[骨盤内炎症性疾患(PID)のリスクが上昇するおそれがある。][8.4 参照],[11.1.1 参照]
  7. 2.7 過去3ヵ月以内に性感染症(細菌性腟炎、カンジダ症、再発性ヘルペスウイルス感染、B型肝炎、サイトメガロウイルス感染を除く)の既往歴のある女性[PIDのリスクが上昇するおそれがある。][8.4 参照],[11.1.1 参照]
  8. 2.8 頸管炎又は腟炎の患者[PIDを起こすおそれがある。][8.4 参照],[11.1.1 参照]
  9. 2.9 再発性又は現在PIDの患者[症状が悪化することがある。][8.4 参照],[11.1.1 参照]
  10. 2.10 過去3ヵ月以内に分娩後子宮内膜炎又は感染性流産の既往歴のある女性[子宮内膜炎を起こすおそれがある。][8.4 参照]
  11. 2.11 異所性妊娠の既往歴のある女性[異所性妊娠が起こるおそれがある。][11.1.2 参照]
  12. 2.12 本剤又は子宮内避妊用具(IUD)装着時又は頸管拡張時に失神、徐脈等の迷走神経反射を起こしたことのある女性[本剤の装着及び除去に際して迷走神経反射を起こすおそれがある。]
  13. 2.13 重篤な肝障害の患者[9.3.1 参照]
  14. 2.14 肝腫瘍の患者[肝臓への負担が増加し、症状が増悪するおそれがある。]
  15. 2.15 妊婦又は妊娠している可能性のある女性[8.4 参照],[9.4 参照],[9.5.1 参照]

3. 組成・性状

3.1 組成

ミレーナ52mg

有効成分 1システム中レボノルゲストレル   52mg含有
添加剤 ポリジメチルシロキサン硬化エラストマーM、ポリジメチルシロキサン硬化チューブM

3.2 製剤の性状

ミレーナ52mg

外形 大きさ                                        
色・性状 T型フレームの垂直軸に白色円筒状の内容薬剤を取り付け、この内容薬剤の部分を半透明の剤皮で覆ったものである。このT型フレームは白色で、垂直軸の上端が2本の弓状のアームとなっており、垂直軸の下端はループになっている。このループには除去糸が取り付けられている。

4. 効能又は効果

  • 避妊
  • 過多月経
  • 月経困難症

5. 効能又は効果に関連する注意

  • 〈過多月経〉

    器質性過多月経の患者では、原疾患の治療を優先すること。

6. 用法及び用量

本剤1個を子宮腔内に装着する。

7. 用法及び用量に関連する注意

本剤は装着後5年を超えないうちに除去又は交換すること。

8. 重要な基本的注意

  • 〈効能共通〉
    1. 8.1 本剤の取扱いは、産婦人科医(母体保護法指定医又は日本産科婦人科学会認定医)が行うこと。
    2. 8.2 本剤の装着前に、副作用の可能性についてよく説明すること。また、他の避妊法と同様に、本剤による避妊効果は必ずしも100%ではないことを説明すること。また、妊娠や異所性妊娠が疑われる場合の対応についても説明しておくこと。[9.5.2 参照],[17.1.1 参照],[17.1.2 参照]
    3. 8.3 本剤の装着後、出血パターンが不規則になる。装着後数ヵ月間は月経中間期出血が発現することが多いが、通常は装着継続中に消失する。長期間持続する場合は、子宮内膜の疾患によるものでないことを確認するために適切な検査を考慮すること。[2.4 参照]
    4. 8.4 装着前に骨盤内諸臓器、乳房の検査、腟内容の検査を含む診察を行うこと。妊娠していないこと、性感染症に罹患していないことを確認すること。[2.2 参照],[2.3 参照],[2.4 参照],[2.5 参照],[2.6 参照],[2.7 参照],[2.8 参照],[2.9 参照],[2.10 参照],[2.15 参照],[9.5.1 参照]
    5. 8.5 本剤は、滅菌処理したディスポーザブル製品であるので、いったん装着した後、除去又は脱出した場合は再度使用しないこと。
    6. 8.6 装着後3ヵ月以内、1年後(又は必要に応じそれ以前)に受診させ、1年以上装着する場合は、以後少なくとも1年に1度は受診するよう指導し、本剤の位置の確認及び必要に応じた諸検査を実施すること。
    7. 8.7 次のような場合には受診するよう指導すること。
      • 多量の性器出血があったとき、又は装着後数ヵ月以降に月経中間期出血が継続してみられたとき、あるいは出血量の増加など出血のパターンが変化したとき
      • 前回の月経から6週間以内に月経が起こらない場合や、悪心、嘔吐、食欲不振等の妊娠を疑う兆候がみられたとき[9.5.2 参照]
      • 月経遅延時の下腹部痛又は無月経の女性で出血が始まるなど異所性妊娠を疑う兆候がみられたとき[11.1.2 参照]
      • 性交痛又は性交後出血があったとき
      • 異常な帯下、外陰部そう痒等があったとき
      • 発熱を伴う下腹部痛があったとき
      • 持続性又は急性の腹部膨満感や下腹部痛(圧痛)があったとき
      • 性交時にパートナーが除去糸に触れ、陰茎痛を訴えたとき
      • その他、異常を自覚した場合
    8. 8.8 子宮穿孔の可能性が考えられたときには、本剤を除去すること。[11.1.3 参照]
    9. 8.9 本剤の効果は主に子宮内膜への局所作用に基づくものであり、通常排卵周期があるが、卵胞閉鎖が遅れ、卵胞形成が継続することがある。超音波検査時に卵巣のう胞が観察された場合は、経過観察を行うこと。ほとんどは無症状であるが、骨盤痛又は性交痛を伴う場合もある。また、通常2~3ヵ月の観察期間中に消失するが、まれに、大きくなりすぎた卵巣のう胞の切除や卵巣のう胞破裂に伴う出血の処置等を必要とする場合がある。
      使用者に経過観察のため来院の必要性を説明し、持続性又は急性の腹部膨満感や下腹部痛(圧痛)が起こった場合は、速やかに受診するよう指導すること。[11.1.4 参照]
    10. 8.10 装着・除去に関しては次のような点に注意すること。
      1. 8.10.1 装着の時期
        1. (1) 妊娠初期における装着を防止するため月経開始後7日以内に装着すること。妊娠初期の流産又は妊娠初期の人工妊娠中絶の場合は直後に装着してもよい。本剤使用者が新しいものを装着しなおす場合は、月経周期のいつでも装着が可能である。
        2. (2) 分娩後の装着は穿孔や脱出の可能性が高くなるので、子宮の回復(6週間以上)を待つこと。また、授乳中の女性の子宮は穿孔のリスクが高くなるので注意すること。[9.6.1 参照],[9.6.2 参照],[11.1.3 参照]
        3. (3) 骨盤内手術(帝王切開術、子宮筋腫核出術等)後の女性では、術部の回復を確認してから装着すること。
      2. 8.10.2 装着時の注意
        1. (1) 本剤はエチレンオキサイドガス滅菌済みである。無菌的に包装を開封して装着すること。本剤のヒートシール包装が開封前に破損していないことを確認すること。
        2. (2) 装着前に子宮頸管及び子宮腔の屈曲方向と長さを測定すること。子宮腔長が比較的短い女性では挿入が困難な場合がある。
        3. (3) 脱出を防ぎ、効果を確実に発揮させるために、本剤を正しい位置に装着すること。
        4. (4) 本剤装着時に痛みと出血を伴うことがある。迷走神経反射として、失神、徐脈、またてんかんの患者は発作を起こす可能性があるので注意すること。
      3. 8.10.3 装着後の管理
        1. (1) 自然脱出

          自然脱出の可能性があることを説明し、脱出に気付いたら速やかに受診するよう指導すること。子宮腔長が比較的短い女性では脱出のリスクが高くなる。部分脱出の場合でも、効果が低下するおそれがある。部分脱出あるいは完全脱出の兆候として出血及び疼痛があらわれることがあるが、使用者が気付かないうちに脱出することもありうる。正しい位置にない場合は、除去して、新たな本剤を装着すること。なお、使用者自身が除去糸を確認することで脱出の有無を確かめることができる。

        2. (2) 位置の確認

          定期検診時に本剤の位置を確認すること。また、除去糸が見つからない場合は穿孔若しくは脱出の可能性も考えられるので、本剤の位置を確認すること。本剤の位置は超音波検査によって確認できるが、妊娠していないことが確認されれば単純レントゲン撮影も可能である。

        3. (3) 装着後数日間は、出血、下腹部痛、腰痛、帯下等の症状があらわれることがある。これらの症状が継続する場合やひどい場合は受診するよう指導すること。
      4. 8.10.4 除去に関する注意
        1. (1) 除去の時期

          月経期間以外に除去し、その後新たな本剤又はIUDを装着しない場合、除去前1週間以内に性交渉があれば妊娠する可能性がある。除去後妊娠を望まない場合は月経期間中に除去すること。

        2. (2) 除去時の注意
          • 本剤除去時に痛みと出血を伴うことがある。迷走神経反射として、失神、徐脈、またてんかんの患者は発作を起こす可能性があるので注意すること。なお、除去後約1週間以内に消退出血が起こることがある。
          • **本剤が破損する可能性があるので、除去時に本剤を強く引っ張らないこと。円筒部がずれて水平アーム部を包み込んだ例や円筒部が子宮内に残された例が報告されているので、除去後に本剤の外形の異常又は欠損がないかを確認すること。
  • 〈月経困難症〉
    1. 8.11 器質的疾患を伴う月経困難症患者に対する本剤の使用にあたっては、器質的疾患の増悪の有無を確認するため、不正性器出血の発現に注意し、定期的に内診及び超音波検査等による診察を行うこと。本剤装着中に腫瘤が増大するなど器質的疾患の増悪が認められる場合や、臨床症状の改善がみられない場合は、他の治療法も勘案したうえで装着継続の判断を行うこと。特に、子宮内膜症性卵巣のう胞(卵巣チョコレートのう胞)は、頻度は低いものの自然経過において悪性化を示唆する報告があるので、画像診断や腫瘍マーカー等の検査も行うこと。

9. 特定の背景を有する患者に関する注意

9.1 合併症・既往歴等のある患者

  • 〈効能共通〉
    1. 9.1.1 先天性心疾患又は心臓弁膜症の患者

      本剤を装着又は除去するときは抗生物質を予防的に投与することが望ましい。感染性心内膜炎の危険性がある。

    2. 9.1.2 糖尿病患者

      十分コントロールを行うこと。耐糖能が低下することがある。

  • 〈避妊〉
    1. 9.1.3 未経産婦

      第一選択の避妊法としないこと。IUDにおいて経産婦の装着と比較して脱出、妊娠、出血・疼痛、感染症、迷走神経反射の頻度が高いとの報告がある。

9.3 肝機能障害患者

  1. 9.3.1 重篤な肝障害の患者

    装着しないこと。肝臓への負担が増加し、症状が増悪するおそれがある。[2.13 参照]

  2. 9.3.2 肝障害のある患者(重篤な肝障害の患者を除く)

    肝臓への負担が増加し、症状が増悪するおそれがある。

9.4 生殖能を有する者

徐々に稀発月経が発現し、約20%の女性に無月経がみられる。前回の月経から6週間以内に月経が起こらない場合は妊娠の可能性も考慮すること。[2.15 参照],[9.5.1 参照],[9.5.2 参照]

9.5 妊婦

  1. 9.5.1 妊婦又は妊娠している可能性のある女性には、本剤を装着しないこと。[2.15 参照],[8.4 参照],[9.4 参照]
  2. 9.5.2 本剤の使用中に妊娠した場合には以下のように適切な処置を行うこと。[8.2 参照],[8.7 参照],[9.4 参照]
    1. (1) 異所性妊娠の場合

                        [11.1.2 参照]                 

    2. (2) 子宮内妊娠の場合
      • 原則として、本剤を除去すること。使用者には本剤の除去や子宮ゾンデ診は自然流産に至ることがあることを説明すること。
      • 黄体ホルモンの局所的曝露による胎児への影響を完全に否定することはできないため、使用者に胎児への影響の危険性について十分に説明した上、妊娠の中断も考慮すること。本剤装着中の妊娠の報告は少ないため、妊娠の転帰に関する報告は限られているが、本剤との関連性を否定できない出生児の外性器異常の報告がある。また、黄体ホルモン剤の使用と先天異常児出産との因果関係について、いまだ確立されたものではないものの、心臓・四肢等の先天異常児を出産した母親では、対照群に比して妊娠初期に黄体又は黄体・卵胞ホルモン剤を使用していた率に有意差があるとする疫学調査の結果が報告されている。
      • 妊娠の継続を希望し、本剤が除去できない場合は、妊娠の経過をよく観察し、十分管理すること。また、使用者には、装着したまま妊娠を継続した場合には、流産(敗血性流産を含む)や早産の危険性が高くなること、黄体ホルモンの胎児への曝露、早産により起こり得る胎児への影響を説明し、インフルエンザ様の症状、発熱を伴う腹部仙痛、出血などの妊娠の合併症を示唆する異常がみられた場合は直ちに受診するよう指導すること。

9.6 授乳婦

  1. 9.6.1 治療上の有益性及び母乳栄養の有益性を考慮し、授乳の継続又は中止を検討すること。[8.10.1 参照]
  2. 9.6.2 授乳中の女性には第一選択としないこと。母乳中への移行が報告されている。[8.10.1 参照]

11. 副作用

次の副作用があらわれることがあるので、観察を十分に行い、異常が認められた場合には除去するなど適切な処置を行うこと。

11.1 重大な副作用

  1. 11.1.1 骨盤内炎症性疾患(PID)(0.2%未満)

    発熱、下腹部痛、腟分泌物の異常等の症状を伴うPIDがあらわれることがある。海外において、骨盤内感染症が重症化して敗血症(A群β溶血性レンサ球菌性敗血症等)に至った症例が報告されている。PIDは装着時の汚染が原因の場合には、一般的に装着後20日以内に発現することが多い。性感染症のある女性ではPIDのリスクが高い。副腎皮質ホルモンの長期投与療法を受けている場合は、感染症に対する特別な注意が必要である。骨盤内の炎症が起こると妊孕性が低下し、異所性妊娠の危険性が高くなる。PIDが認められた場合は、抗生物質の投与等適切な処置を行うこと。再発性の子宮内膜炎又は骨盤内感染が起こった場合、あるいは、急性の感染症に対する治療効果が開始後数日間内に認められない場合は、本剤を除去すること。異常な帯下等、感染が疑われる他の症状がある場合でも、細菌学的検査を行い、経過を観察すること。[2.6 参照],[2.7 参照],[2.8 参照],[2.9 参照]

  2. 11.1.2 異所性妊娠(頻度不明)

    本剤装着中に妊娠した場合、その約半数が異所性妊娠である。異所性妊娠、骨盤内の手術、又は骨盤内感染症の既往歴のある女性が妊娠した場合、異所性妊娠の可能性が高い。月経遅延時の下腹部痛又は無月経の女性で出血が始まった場合は、異所性妊娠の可能性を考慮すること。異所性妊娠の場合は、速やかに本剤を除去し、必要な処置を行うこと。[2.11 参照],[8.7 参照],[9.5.2 参照]

  3. 11.1.3 穿孔(頻度不明)

    子宮穿孔又は子宮体部や頸部への部分的貫入が起こることがあるが、これは装着時に起こることが多く、効果が低下するおそれがある。挿入が困難であったり、装着時又は装着後に異常な痛みや出血があった場合は、速やかに穿孔の可能性を考慮すること。穿孔又は部分的貫入した場合は、本剤は除去すること。[8.8 参照],[8.10.1 参照]

  4. 11.1.4 卵巣のう胞破裂(頻度不明)

    卵巣のう胞が認められた場合は、経過観察を十分に行い、持続性又は急性の腹部膨満感や下腹部痛(圧痛)等の異常が認められた場合には、速やかに適切な処置を行うこと。[8.9 参照]

11.2 その他の副作用

5%以上

5%未満

頻度不明

代謝・栄養障害

浮腫、末梢性浮腫、高トリグリセライド血症、フェリチン上昇、体重増加

精神神経系

頭痛、抑うつ

気分の変化、性欲減退、片頭痛、神経過敏

消化器

悪心、鼓腸放屁

皮膚

ざ瘡、湿疹

多毛、脱毛、そう痒

過敏症

じん麻疹

発疹、血管浮腫

肝臓

γ-GTP上昇、肝機能異常

乳房

乳房痛

乳房緊満

生殖器

月経異常(過長月経、月経周期異常等)(78.6%)、月経中間期出血、除去後の消退出血、卵巣のう胞

無月経、月経困難症、過多月経、卵巣疾患、腟炎、外陰炎、陰部そう痒、白帯下、生殖器モニリア症、本剤の脱出、装着・除去時の疼痛・出血

生殖器感染症、子宮頸管炎、骨盤痛

その他

腹痛

背部痛、倦怠感、白血球増多

血圧上昇

15. その他の注意

15.1 臨床使用に基づく情報

  1. 15.1.1 経口、注射の黄体ホルモン避妊剤において、有意ではないが僅かな心血管系のリスク上昇を示唆する報告があるので、下肢の疼痛・浮腫、突然の息切れ、胸痛、激しい頭痛、急性視力障害、著しい血圧上昇等の症状・状態があらわれた場合は除去を考慮し、適切な処置を行うこと。
  2. 15.1.2 子宮内避妊用具(IUD)使用者(レボノルゲストレル放出子宮内システム及び銅付加IUD使用者)を対象とした、海外での大規模市販後調査において、授乳をしていない女性のうち、分娩後36週目までにIUDを装着した女性は、分娩後36週目を超えてIUDを装着した女性に比べ子宮穿孔のリスクが高かったとの報告がある。

その他詳細情報

日本標準商品分類番号
872549
ブランドコード
2529710X1027
承認番号
21900AMY00008000
販売開始年月
2007-04
貯法
室温保存
有効期間
60ヵ月
規制区分
12

重要な注意事項

  • この情報は医療専門家による診断や治療の代替にはなりません。副作用に関する懸念がある場合は、必ず医師または薬剤師に相談してください。
  • 副作用の発生頻度や重篤度は個人差があります。ここで提供される情報は一般的なものであり、すべての患者さんに当てはまるわけではありません。
  • 薬剤の使用に関しては、必ず医療専門家の指示に従い、自己判断での変更や中止を避けてください。
  • この情報は最新のものであるよう努めていますが、最新とは限りません。常に医療専門家に確認してください。
  • 副作用に関する情報は、信頼できる医療情報源に基づいて提供されていますが、完全性や正確性を保証するものではありません。
  • この情報を使用することにより生じたいかなる損害についても、当サイトは一切の責任を負いません。