薬効分類名経皮吸収型アルツハイマー型認知症治療剤
一般的名称リバスチグミン経皮吸収型製剤
リバスチグミンテープ4.5mg「久光」、リバスチグミンテープ9mg「久光」、リバスチグミンテープ13.5mg「久光」、リバスチグミンテープ18mg「久光」
りばすちぐみんてーぷ4.5mg「ひさみつ」、りばすちぐみんてーぷ9mg「ひさみつ」、りばすちぐみんてーぷ13.5mg「ひさみつ」、りばすちぐみんてーぷ18mg「ひさみつ」
RIVASTIGMINE Tapes 4.5mg「Hisamitsu」, RIVASTIGMINE Tapes 9mg「Hisamitsu」, RIVASTIGMINE Tapes 13.5mg「Hisamitsu」, RIVASTIGMINE Tapes 18mg「Hisamitsu」
製造販売元/久光製薬株式会社
重大な副作用
その他の副作用
併用注意
コリン作動薬
- アセチルコリン
カルプロニウム
ベタネコール
アクラトニウム
コリンエステラーゼ阻害剤
- アンベノニウム
ジスチグミン
ピリドスチグミン
ネオスチグミン等
コリン刺激作用が増強され、コリン系副作用(悪心、嘔吐、徐脈等)を引き起こす可能性がある。
本剤と同様にコリン作動性作用を有している。
抗コリン作用を有する薬剤
- トリヘキシフェニジル
ピロヘプチン
マザチコール
メチキセン
ビペリデン等
アトロピン系抗コリン剤
- ブチルスコポラミン
アトロピン等
本剤と抗コリン作用を有する薬剤のそれぞれの効果が減弱する可能性がある。
本剤と抗コリン作用を有する薬剤の作用が相互に拮抗する。
サクシニルコリン系筋弛緩剤
- スキサメトニウム等
サクシニルコリン系筋弛緩剤の作用が過剰にあらわれるおそれがある。
本剤がコリンエステラーゼを阻害し、脱分極性筋弛緩剤の分解を抑制する。
非ステロイド性消炎鎮痛剤
胃潰瘍又は十二指腸潰瘍を誘発又は悪化させるおそれがある。
コリン系の賦活により胃酸分泌量が増加する。
4. 効能又は効果
軽度及び中等度のアルツハイマー型認知症における認知症症状の進行抑制
6. 用法及び用量
通常、成人にはリバスチグミンとして1日1回4.5mgから開始し、原則として4週毎に4.5mgずつ増量し、維持量として1日1回18mgを貼付する。また、患者の状態に応じて、1日1回9mgを開始用量とし、原則として4週後に18mgに増量することもできる。
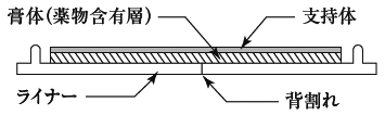
本剤は背部、上腕部、胸部のいずれかの正常で健康な皮膚に貼付し、24時間毎に貼り替える。
7. 用法及び用量に関連する注意
- 7.1 リバスチグミンとして1日1回9mgより投与を開始し、原則として4週後に1日1回18mgまで増量する投与方法については、副作用(特に、消化器系障害(悪心、嘔吐等))の発現を考慮し、本剤の忍容性が良好と考えられる場合に当該漸増法での投与の可否を判断すること。
- 7.2 本剤を慎重に投与することが推奨される患者については、リバスチグミンとして1日1回4.5mgより投与を開始し、原則として4週毎に4.5mgずつ1日1回18mgまで増量する投与方法を選択すること。[9.1.1 参照],[9.1.2 参照],[9.1.3 参照],[9.1.4 参照],[9.1.5 参照],[9.1.6 参照],[9.1.7 参照],[9.1.8 参照],[9.3.1 参照]
- 7.3 1日18mg未満は有効用量ではなく、漸増又は一時的な減量を目的とした用量であるので、維持量である18mgまで増量すること。
- 7.4 本剤は、維持量に到達するまでは、1日量として18mgを超えない範囲で症状により適宜増減が可能である。消化器系障害(悪心、嘔吐等)がみられた場合は、減量するかこれらの症状が消失するまで休薬する。休薬期間が4日程度の場合は、休薬前と同じ用量又は休薬前に忍容であった用量で投与を再開する。それ以外の場合は本剤の開始用量(4.5mg又は9mg)を用いて投与を再開する。投与再開後は、再開時の用量を2週間以上投与し、忍容性が良好であることを確認した上で、減量前の用量までは2週間以上の間隔で増量する。
- 7.5 原則として、1日1回につき1枚のみ貼付すること。[14.2.6 参照]
- 7.6 他のコリンエステラーゼ阻害作用を有する同効薬(ドネペジル等)と併用しないこと。
- 7.7 医療従事者又は介護者等の管理のもとで投与すること。
8. 重要な基本的注意
- 8.1 本剤投与で効果が認められない場合には、漫然と投与しないこと。
- 8.2 アルツハイマー型認知症は、自動車の運転等の機械操作能力を低下させる可能性がある。また、本剤は主に投与開始時又は増量時にめまい及び傾眠を誘発することがある。このため、自動車の運転等の危険を伴う機械の操作に従事させないよう注意すること。
- 8.3 本剤の貼付により皮膚症状があらわれることがあるため、貼付箇所を毎回変更すること。皮膚症状があらわれた場合には、ステロイド軟膏又は抗ヒスタミン外用剤等を使用するか、本剤の減量又は一時休薬、あるいは使用を中止するなど適切な処置を行うこと。[14.2.5 参照]
- 8.4 本剤を同一箇所に連日貼付・除去を繰り返した場合、皮膚角質層の剥離等が生じ、血中濃度が増加するおそれがあるため、貼付箇所を毎回変更すること。[14.2.5 参照]
- 8.5 本剤の貼り替えの際、貼付している製剤を除去せずに新たな製剤を貼付したために過量投与となり、重篤な副作用が発現した例が報告されている。貼り替えの際は先に貼付している製剤を除去したことを十分確認するよう患者及び介護者等に指導すること。[13.1 参照]
- 8.6 嘔吐あるいは下痢の持続により脱水があらわれることがある。脱水により、重篤な転帰をたどるおそれがあるので、嘔吐あるいは下痢がみられた場合には、観察を十分に行い適切な処置を行うこと。[11.1.7 参照]
- 8.7 アルツハイマー型認知症患者では、体重減少が認められることがある。また、本剤を含むコリンエステラーゼ阻害剤の投与により、体重減少が報告されているので、治療中は体重の変化に注意すること。
9. 特定の背景を有する患者に関する注意
9.1 合併症・既往歴等のある患者
-
9.1.1 洞不全症候群又は伝導障害(洞房ブロック、房室ブロック)等の心疾患のある患者
迷走神経刺激作用により徐脈又は不整脈が起こるおそれがある。[7.2 参照]
-
9.1.2 心筋梗塞、弁膜症、心筋症等の心疾患、電解質異常(低カリウム血症等)等のある患者、QT延長又はその既往歴・家族歴のある患者
徐脈、房室ブロック、QT延長、Torsade de pointes等が起こるおそれがあるため、重篤な不整脈に移行しないよう観察を十分に行うこと。[7.2 参照],[11.1.1 参照]
-
9.1.3 胃潰瘍又は十二指腸潰瘍のある患者、あるいはこれらの既往歴のある患者
胃酸分泌量が増加し、胃潰瘍又は十二指腸潰瘍を誘発又は悪化させるおそれがある。[7.2 参照]
-
9.1.4 尿路閉塞のある患者又はこれを起こしやすい患者
排尿筋を収縮させ症状を誘発又は悪化させるおそれがある。[7.2 参照]
-
9.1.5 てんかん等の痙攣性疾患又はこれらの既往歴のある患者
痙攣閾値を低下させ痙攣発作を誘発させるおそれがある。[7.2 参照]
-
9.1.6 気管支喘息又は閉塞性肺疾患、あるいはこれらの既往歴のある患者
気管支平滑筋の収縮及び気管支粘液分泌の亢進により症状を悪化させるおそれがある。[7.2 参照]
-
9.1.7 錐体外路障害(パーキンソン病、パーキンソン症候群等)のある患者
線条体のコリン系神経を亢進することにより、症状を悪化させるおそれがある。[7.2 参照]
-
9.1.8 低体重の患者
消化器系障害(悪心、嘔吐等)を発現しやすくなるおそれがある。[7.2 参照]
9.3 肝機能障害患者
-
9.3.1 重度の肝機能障害患者
*治療上やむを得ないと判断される場合にのみ投与すること。血中濃度が上昇するおそれがある。また、重度の肝機能障害患者を対象とした臨床試験は実施していない。[7.2 参照],[16.6.1 参照]
9.5 妊婦
妊婦又は妊娠している可能性のある女性には、治療上の有益性が危険性を上回ると判断される場合にのみ投与すること。動物実験(ラット、ウサギ)において、リバスチグミン又はその代謝物の胎児への移行が認められている。
9.6 授乳婦
治療上の有益性及び母乳栄養の有益性を考慮し、授乳の継続又は中止を検討すること。動物実験(ラット)において、乳汁中への移行が報告されている。
9.7 小児等
小児等を対象とした臨床試験は実施していない。
10. 相互作用
10.2 併用注意(併用に注意すること)
| 薬剤名等 | 臨床症状・措置方法 | 機序・危険因子 |
|---|---|---|
コリン刺激作用が増強され、コリン系副作用(悪心、嘔吐、徐脈等)を引き起こす可能性がある。 |
本剤と同様にコリン作動性作用を有している。 |
|
本剤と抗コリン作用を有する薬剤のそれぞれの効果が減弱する可能性がある。 |
本剤と抗コリン作用を有する薬剤の作用が相互に拮抗する。 |
|
サクシニルコリン系筋弛緩剤の作用が過剰にあらわれるおそれがある。 |
本剤がコリンエステラーゼを阻害し、脱分極性筋弛緩剤の分解を抑制する。 |
|
非ステロイド性消炎鎮痛剤 |
胃潰瘍又は十二指腸潰瘍を誘発又は悪化させるおそれがある。 |
コリン系の賦活により胃酸分泌量が増加する。 |
11. 副作用
11.1 重大な副作用
- 11.1.1 狭心症(0.3%)、心筋梗塞(0.3%)、徐脈(0.8%)、房室ブロック(0.2%)、洞不全症候群(頻度不明)、QT延長(0.6%)
-
11.1.2 脳卒中(0.3%)、痙攣発作(0.2%)
**一過性脳虚血発作、脳出血及び脳梗塞を含む脳卒中、痙攣発作があらわれることがある。
- 11.1.3 食道破裂を伴う重度の嘔吐、胃潰瘍(いずれも頻度不明)、十二指腸潰瘍、胃腸出血(いずれも0.1%)
- 11.1.4 肝炎(頻度不明)
- 11.1.5 失神(0.1%)
- 11.1.6 幻覚(0.2%)、激越(0.1%)、せん妄、錯乱(いずれも頻度不明)
-
11.1.7 脱水(0.4%)
嘔吐あるいは下痢の持続により脱水があらわれることがあるので、このような場合には、補液の実施及び本剤の減量又は投与を中止するなど適切な処置を行うこと。[8.6 参照]
11.2 その他の副作用
5%以上 |
1~5%未満 |
1%未満 |
頻度不明 |
|
|---|---|---|---|---|
感染症 |
- |
- |
尿路感染 |
- |
血液及びリンパ系障害 |
- |
- |
貧血、好酸球増加症 |
- |
代謝及び栄養障害 |
食欲減退 |
- |
糖尿病 |
- |
精神障害 |
- |
- |
不眠症、うつ病、落ち着きのなさ |
不安、攻撃性、悪夢 |
神経系障害 |
- |
浮動性めまい、頭痛 |
傾眠、振戦 |
- |
心臓障害 |
- |
- |
上室性期外収縮、頻脈、心房細動 |
- |
血管障害 |
- |
高血圧 |
- |
- |
胃腸障害 |
嘔吐、悪心 |
下痢、腹痛、胃炎 |
消化不良 |
膵炎 |
皮膚及び皮下組織障害 |
接触性皮膚炎 |
- |
発疹、湿疹、紅斑、そう痒症、多汗症、アレルギー性皮膚炎 |
蕁麻疹、水疱 |
腎及び尿路障害 |
- |
血尿 |
頻尿、蛋白尿、尿失禁 |
- |
全身障害 |
- |
- |
疲労、無力症、けん怠感 |
- |
適用部位障害 |
適用部位紅斑、適用部位そう痒感、適用部位浮腫 |
適用部位皮膚剥脱、適用部位疼痛、適用部位亀裂、適用部位皮膚炎 |
適用部位反応、適用部位腫脹、適用部位刺激感 |
適用部位過敏反応 |
臨床検査 |
- |
体重減少、血中アミラーゼ増加 |
肝機能検査異常、コリンエステラーゼ減少 |
- |
その他 |
- |
- |
転倒・転落、末梢性浮腫 |
縮瞳 |
13. 過量投与
-
13.1 症状
外国において本剤の過量投与(1回108mg、2日間)の2週間後に死亡したとの報告がある。また、外国における経口投与及び国内外における経皮投与による過量投与例では、嘔吐、悪心、下痢、腹痛、めまい、振戦、頭痛、失神、傾眠、錯乱状態、幻覚、多汗症、徐脈、高血圧、けん怠感及び縮瞳等が認められている。[8.5 参照]
-
13.2 処置
過量投与時には、速やかに本剤をすべて除去し、その後24時間はそれ以上の貼付を行わない。重度の悪心、嘔吐には制吐剤の使用を考慮すること。また、大量の過量投与時には、アトロピン硫酸塩水和物を解毒剤として使用できる。最初にアトロピン硫酸塩水和物として1~2mgを静脈内投与し、臨床反応に応じて投与を追加する。解毒剤としてスコポラミンの使用は避けること。
14. 適用上の注意
14.2 薬剤貼付時の注意
- 14.2.1 本剤は、背部、上腕部又は胸部の正常で健康な皮膚で、清潔で乾燥した体毛が少ない、密着した衣服を着用してもこすれない箇所に貼付すること。
- 14.2.2 貼付箇所の皮膚を拭い、清潔にしてから本剤を貼付すること。
- 14.2.3 皮膚の損傷又は湿疹・皮膚炎等がみられる箇所には貼付しないこと。
- 14.2.4 貼付する箇所にクリーム、ローション又はパウダーを塗布しないこと。
- 14.2.5 皮膚刺激を避けるため、貼付箇所を毎回変更し、繰り返し同一箇所には貼付しないこと。[8.3 参照],[8.4 参照]
- 14.2.6 原則、1回につき1枚のみ貼付し、貼付24時間後に新しい製剤に貼り替えること。[7.5 参照]
- 14.2.7 本剤が剥がれた場合は、その時点で新しい製剤に貼り替え、翌日より通常通りの時間に貼り替えを行うこと。
4. 効能又は効果
軽度及び中等度のアルツハイマー型認知症における認知症症状の進行抑制
6. 用法及び用量
通常、成人にはリバスチグミンとして1日1回4.5mgから開始し、原則として4週毎に4.5mgずつ増量し、維持量として1日1回18mgを貼付する。また、患者の状態に応じて、1日1回9mgを開始用量とし、原則として4週後に18mgに増量することもできる。
本剤は背部、上腕部、胸部のいずれかの正常で健康な皮膚に貼付し、24時間毎に貼り替える。
7. 用法及び用量に関連する注意
- 7.1 リバスチグミンとして1日1回9mgより投与を開始し、原則として4週後に1日1回18mgまで増量する投与方法については、副作用(特に、消化器系障害(悪心、嘔吐等))の発現を考慮し、本剤の忍容性が良好と考えられる場合に当該漸増法での投与の可否を判断すること。
- 7.2 本剤を慎重に投与することが推奨される患者については、リバスチグミンとして1日1回4.5mgより投与を開始し、原則として4週毎に4.5mgずつ1日1回18mgまで増量する投与方法を選択すること。[9.1.1 参照],[9.1.2 参照],[9.1.3 参照],[9.1.4 参照],[9.1.5 参照],[9.1.6 参照],[9.1.7 参照],[9.1.8 参照],[9.3.1 参照]
- 7.3 1日18mg未満は有効用量ではなく、漸増又は一時的な減量を目的とした用量であるので、維持量である18mgまで増量すること。
- 7.4 本剤は、維持量に到達するまでは、1日量として18mgを超えない範囲で症状により適宜増減が可能である。消化器系障害(悪心、嘔吐等)がみられた場合は、減量するかこれらの症状が消失するまで休薬する。休薬期間が4日程度の場合は、休薬前と同じ用量又は休薬前に忍容であった用量で投与を再開する。それ以外の場合は本剤の開始用量(4.5mg又は9mg)を用いて投与を再開する。投与再開後は、再開時の用量を2週間以上投与し、忍容性が良好であることを確認した上で、減量前の用量までは2週間以上の間隔で増量する。
- 7.5 原則として、1日1回につき1枚のみ貼付すること。[14.2.6 参照]
- 7.6 他のコリンエステラーゼ阻害作用を有する同効薬(ドネペジル等)と併用しないこと。
- 7.7 医療従事者又は介護者等の管理のもとで投与すること。
8. 重要な基本的注意
- 8.1 本剤投与で効果が認められない場合には、漫然と投与しないこと。
- 8.2 アルツハイマー型認知症は、自動車の運転等の機械操作能力を低下させる可能性がある。また、本剤は主に投与開始時又は増量時にめまい及び傾眠を誘発することがある。このため、自動車の運転等の危険を伴う機械の操作に従事させないよう注意すること。
- 8.3 本剤の貼付により皮膚症状があらわれることがあるため、貼付箇所を毎回変更すること。皮膚症状があらわれた場合には、ステロイド軟膏又は抗ヒスタミン外用剤等を使用するか、本剤の減量又は一時休薬、あるいは使用を中止するなど適切な処置を行うこと。[14.2.5 参照]
- 8.4 本剤を同一箇所に連日貼付・除去を繰り返した場合、皮膚角質層の剥離等が生じ、血中濃度が増加するおそれがあるため、貼付箇所を毎回変更すること。[14.2.5 参照]
- 8.5 本剤の貼り替えの際、貼付している製剤を除去せずに新たな製剤を貼付したために過量投与となり、重篤な副作用が発現した例が報告されている。貼り替えの際は先に貼付している製剤を除去したことを十分確認するよう患者及び介護者等に指導すること。[13.1 参照]
- 8.6 嘔吐あるいは下痢の持続により脱水があらわれることがある。脱水により、重篤な転帰をたどるおそれがあるので、嘔吐あるいは下痢がみられた場合には、観察を十分に行い適切な処置を行うこと。[11.1.7 参照]
- 8.7 アルツハイマー型認知症患者では、体重減少が認められることがある。また、本剤を含むコリンエステラーゼ阻害剤の投与により、体重減少が報告されているので、治療中は体重の変化に注意すること。
9. 特定の背景を有する患者に関する注意
9.1 合併症・既往歴等のある患者
-
9.1.1 洞不全症候群又は伝導障害(洞房ブロック、房室ブロック)等の心疾患のある患者
迷走神経刺激作用により徐脈又は不整脈が起こるおそれがある。[7.2 参照]
-
9.1.2 心筋梗塞、弁膜症、心筋症等の心疾患、電解質異常(低カリウム血症等)等のある患者、QT延長又はその既往歴・家族歴のある患者
徐脈、房室ブロック、QT延長、Torsade de pointes等が起こるおそれがあるため、重篤な不整脈に移行しないよう観察を十分に行うこと。[7.2 参照],[11.1.1 参照]
-
9.1.3 胃潰瘍又は十二指腸潰瘍のある患者、あるいはこれらの既往歴のある患者
胃酸分泌量が増加し、胃潰瘍又は十二指腸潰瘍を誘発又は悪化させるおそれがある。[7.2 参照]
-
9.1.4 尿路閉塞のある患者又はこれを起こしやすい患者
排尿筋を収縮させ症状を誘発又は悪化させるおそれがある。[7.2 参照]
-
9.1.5 てんかん等の痙攣性疾患又はこれらの既往歴のある患者
痙攣閾値を低下させ痙攣発作を誘発させるおそれがある。[7.2 参照]
-
9.1.6 気管支喘息又は閉塞性肺疾患、あるいはこれらの既往歴のある患者
気管支平滑筋の収縮及び気管支粘液分泌の亢進により症状を悪化させるおそれがある。[7.2 参照]
-
9.1.7 錐体外路障害(パーキンソン病、パーキンソン症候群等)のある患者
線条体のコリン系神経を亢進することにより、症状を悪化させるおそれがある。[7.2 参照]
-
9.1.8 低体重の患者
消化器系障害(悪心、嘔吐等)を発現しやすくなるおそれがある。[7.2 参照]
9.3 肝機能障害患者
-
9.3.1 重度の肝機能障害患者
*治療上やむを得ないと判断される場合にのみ投与すること。血中濃度が上昇するおそれがある。また、重度の肝機能障害患者を対象とした臨床試験は実施していない。[7.2 参照],[16.6.1 参照]
9.5 妊婦
妊婦又は妊娠している可能性のある女性には、治療上の有益性が危険性を上回ると判断される場合にのみ投与すること。動物実験(ラット、ウサギ)において、リバスチグミン又はその代謝物の胎児への移行が認められている。
9.6 授乳婦
治療上の有益性及び母乳栄養の有益性を考慮し、授乳の継続又は中止を検討すること。動物実験(ラット)において、乳汁中への移行が報告されている。
9.7 小児等
小児等を対象とした臨床試験は実施していない。
10. 相互作用
10.2 併用注意(併用に注意すること)
| 薬剤名等 | 臨床症状・措置方法 | 機序・危険因子 |
|---|---|---|
コリン刺激作用が増強され、コリン系副作用(悪心、嘔吐、徐脈等)を引き起こす可能性がある。 |
本剤と同様にコリン作動性作用を有している。 |
|
本剤と抗コリン作用を有する薬剤のそれぞれの効果が減弱する可能性がある。 |
本剤と抗コリン作用を有する薬剤の作用が相互に拮抗する。 |
|
サクシニルコリン系筋弛緩剤の作用が過剰にあらわれるおそれがある。 |
本剤がコリンエステラーゼを阻害し、脱分極性筋弛緩剤の分解を抑制する。 |
|
非ステロイド性消炎鎮痛剤 |
胃潰瘍又は十二指腸潰瘍を誘発又は悪化させるおそれがある。 |
コリン系の賦活により胃酸分泌量が増加する。 |
11. 副作用
11.1 重大な副作用
- 11.1.1 狭心症(0.3%)、心筋梗塞(0.3%)、徐脈(0.8%)、房室ブロック(0.2%)、洞不全症候群(頻度不明)、QT延長(0.6%)
-
11.1.2 脳卒中(0.3%)、痙攣発作(0.2%)
**一過性脳虚血発作、脳出血及び脳梗塞を含む脳卒中、痙攣発作があらわれることがある。
- 11.1.3 食道破裂を伴う重度の嘔吐、胃潰瘍(いずれも頻度不明)、十二指腸潰瘍、胃腸出血(いずれも0.1%)
- 11.1.4 肝炎(頻度不明)
- 11.1.5 失神(0.1%)
- 11.1.6 幻覚(0.2%)、激越(0.1%)、せん妄、錯乱(いずれも頻度不明)
-
11.1.7 脱水(0.4%)
嘔吐あるいは下痢の持続により脱水があらわれることがあるので、このような場合には、補液の実施及び本剤の減量又は投与を中止するなど適切な処置を行うこと。[8.6 参照]
11.2 その他の副作用
5%以上 |
1~5%未満 |
1%未満 |
頻度不明 |
|
|---|---|---|---|---|
感染症 |
- |
- |
尿路感染 |
- |
血液及びリンパ系障害 |
- |
- |
貧血、好酸球増加症 |
- |
代謝及び栄養障害 |
食欲減退 |
- |
糖尿病 |
- |
精神障害 |
- |
- |
不眠症、うつ病、落ち着きのなさ |
不安、攻撃性、悪夢 |
神経系障害 |
- |
浮動性めまい、頭痛 |
傾眠、振戦 |
- |
心臓障害 |
- |
- |
上室性期外収縮、頻脈、心房細動 |
- |
血管障害 |
- |
高血圧 |
- |
- |
胃腸障害 |
嘔吐、悪心 |
下痢、腹痛、胃炎 |
消化不良 |
膵炎 |
皮膚及び皮下組織障害 |
接触性皮膚炎 |
- |
発疹、湿疹、紅斑、そう痒症、多汗症、アレルギー性皮膚炎 |
蕁麻疹、水疱 |
腎及び尿路障害 |
- |
血尿 |
頻尿、蛋白尿、尿失禁 |
- |
全身障害 |
- |
- |
疲労、無力症、けん怠感 |
- |
適用部位障害 |
適用部位紅斑、適用部位そう痒感、適用部位浮腫 |
適用部位皮膚剥脱、適用部位疼痛、適用部位亀裂、適用部位皮膚炎 |
適用部位反応、適用部位腫脹、適用部位刺激感 |
適用部位過敏反応 |
臨床検査 |
- |
体重減少、血中アミラーゼ増加 |
肝機能検査異常、コリンエステラーゼ減少 |
- |
その他 |
- |
- |
転倒・転落、末梢性浮腫 |
縮瞳 |
13. 過量投与
-
13.1 症状
外国において本剤の過量投与(1回108mg、2日間)の2週間後に死亡したとの報告がある。また、外国における経口投与及び国内外における経皮投与による過量投与例では、嘔吐、悪心、下痢、腹痛、めまい、振戦、頭痛、失神、傾眠、錯乱状態、幻覚、多汗症、徐脈、高血圧、けん怠感及び縮瞳等が認められている。[8.5 参照]
-
13.2 処置
過量投与時には、速やかに本剤をすべて除去し、その後24時間はそれ以上の貼付を行わない。重度の悪心、嘔吐には制吐剤の使用を考慮すること。また、大量の過量投与時には、アトロピン硫酸塩水和物を解毒剤として使用できる。最初にアトロピン硫酸塩水和物として1~2mgを静脈内投与し、臨床反応に応じて投与を追加する。解毒剤としてスコポラミンの使用は避けること。
14. 適用上の注意
14.2 薬剤貼付時の注意
- 14.2.1 本剤は、背部、上腕部又は胸部の正常で健康な皮膚で、清潔で乾燥した体毛が少ない、密着した衣服を着用してもこすれない箇所に貼付すること。
- 14.2.2 貼付箇所の皮膚を拭い、清潔にしてから本剤を貼付すること。
- 14.2.3 皮膚の損傷又は湿疹・皮膚炎等がみられる箇所には貼付しないこと。
- 14.2.4 貼付する箇所にクリーム、ローション又はパウダーを塗布しないこと。
- 14.2.5 皮膚刺激を避けるため、貼付箇所を毎回変更し、繰り返し同一箇所には貼付しないこと。[8.3 参照],[8.4 参照]
- 14.2.6 原則、1回につき1枚のみ貼付し、貼付24時間後に新しい製剤に貼り替えること。[7.5 参照]
- 14.2.7 本剤が剥がれた場合は、その時点で新しい製剤に貼り替え、翌日より通常通りの時間に貼り替えを行うこと。